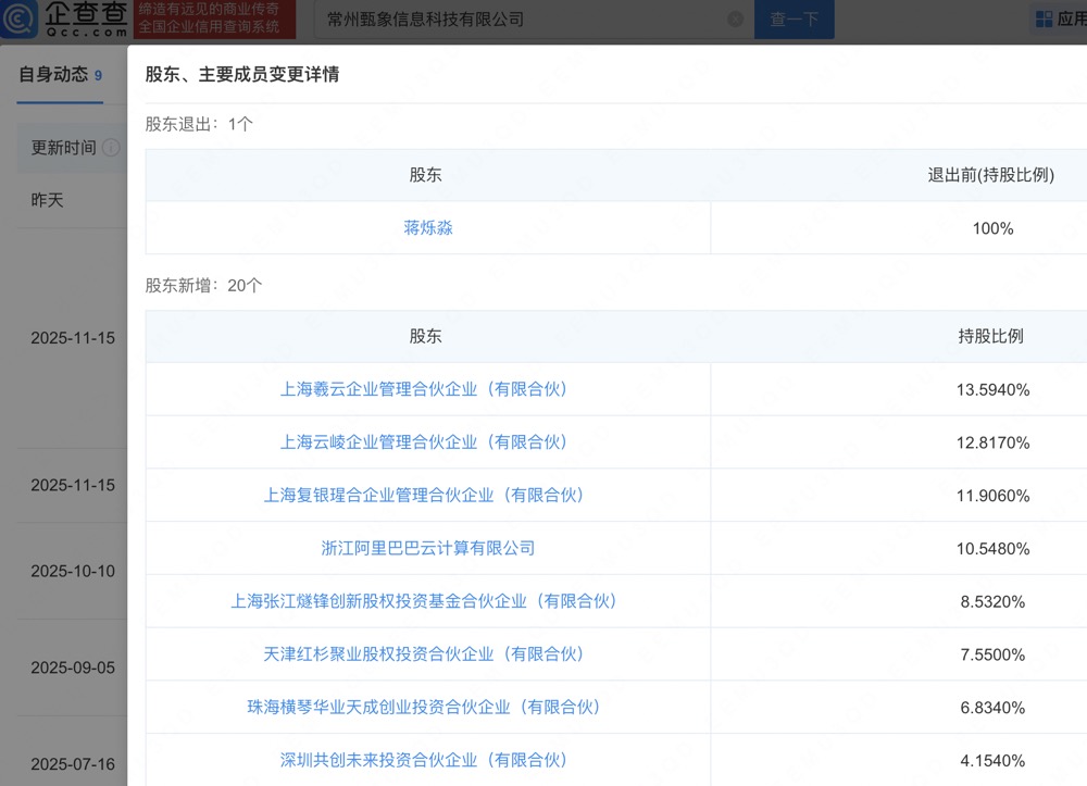
近日,常州甄象信息科技有限公司发生工商变更,蒋烁淼退出该公司股东,新增浙江阿里巴巴云计算有限公司、上海羲云企业管理合伙企业(有限合伙)、上海云绾企业管理咨询合伙企业(有限合伙)等为股东。企查查信息显示,该公司成立于今年4月配资平台预警网,法定代表人为蒋烁淼,经营范围包括信息咨询服务、软件开发、货物进出口等。
配资平台预警网
富华优配提示:文章来自网络,不代表本站观点。
本文评分*
评论内容*
你的昵称*
你的邮箱*